DGS 20 127Y 矿用隔爆型荧光灯与C45接线柱的应用与特性
供应KAN-2-2直键开关及C45接线柱的专业指南
建筑电气中的C45接线柱 基本概念与应用
C45接线柱 高品质正方形铜接线柱在灯具配件中的应用
光缆固定座、单联与双联固定座产品介绍及慈溪市逍林黔慈通信设备厂简介
中国首家Oatly工厂落成 产能提升下的燕麦饮自由与明年零售端战略展望
金属带材冲剪弯曲成型机系列 C45接线柱卡扣弹片夹片成型机
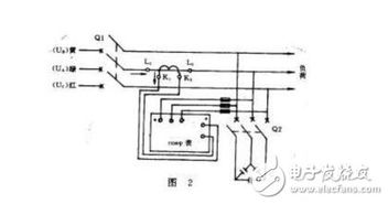
家庭电路开关老是跳闸的5种原因及其表现特征
张湾区绿环仪表耐震压力表YTN-60Z与C45接线柱的专业解析
散热如何兼顾静音?变形金刚4技术解析与C45接线柱应用
阿克陶C45防爆接线柱经销商 产品特性与市场应用
广汽传祺GS4电瓶漏液致C45接线柱腐蚀问题分析与处理
音频连接器与接线柱规格型号及价格指南
2.0销量渐高,漫步者R1900TIII价格稳定,C45接线柱详解
常用电工配件综合指南 电能表与墙壁开关接线柱、压线框及DZ47、C45配件解析
12V逆变器接线柱端子 大功率电子升压器关键配件解析
柳市镇技工求职简历 - C45接线柱专业技工/冲床老师及承包服务
C45接线柱 佛山市南海区西樵品高电器厂的优质电气连接解决方案
C45接线柱香蕉头报价及厂家信息解析
2020年接线柱市场价格分析及批发指南
如若转载,请注明出处:http://www.lydqpj.com/product/list-2.html